OtterKnow Kids Encyclopedia
Search
Home
OtterKnow
K-2 Encyclopedia
Biographies
Inventors
Inventors
Alexander Graham Bell
Bill Gates
Garrett Morgan
Grace Hopper
Hedy Lamarr
Johannes Gutenberg
Lonnie Johnson
Nikola Tesla
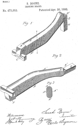
Sarah Boone
Sergey Brin
Stephanie Kwolek
Steve Jobs
Steve Wozniak
The Wright Brothers
Thomas Edison
Tim Berners-Lee